Deprecated: mysql_pconnect(): The mysql extension is deprecated and will be removed in the future: use mysqli or PDO instead in D:\wwwroot\steel-demolition.com.tw\Connections\steel_demolition.php on line 9
專業鋼構拆圖-鋼構,鋼結構,鋼結構施工圖,鋼構拆圖(鋼構設計、繪圖、估算、鋼構工程、鋼構、鋼結構、鋼構施工圖、設計圖、工程估算)全省鋼構建築師及鋼構鐵工廠推薦-專業鋼構拆圖
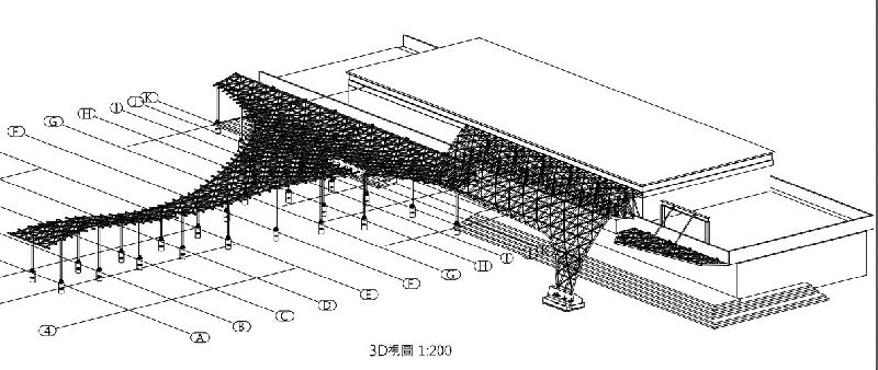
home您目前位置:首頁 > 案件紀錄 > 鋼構拆圖-車站整修美化改善工程
載入中..
圖片載入中 . .
工程名稱:鋼構拆圖-車站整修美化改善工程
案件簡介
鋼構拆圖
基本資料:
案件類別: 鋼構工程
工程類型:廠房新建工程
案件日期:2018-05-15
建築師:
工程地點:
案件進度 2018-08-02